1.3.1. Насос плунжерного типа. Градиентные системы со смешением при высоком и низком давлении
Наиболее распространенными в ВЭЖХ являются насосы плунжерного типа. Плунжерный насос работает по принципу шприца. Его основным элементом является камера (головка) с поршнем с двумя клапанами – на входе и на выходе.
Поршень плунжерного насоса представляет собой сапфировый стержень; основными элементами клапана являются рубиновый шарик и рубиновое седло для шарика. Камера головки изготовлена из стали. Между поршнем и камерой есть полимерное уплотнение (как правило, из тефлона).
Первую половину цикла насос работает на отбор жидкости: поршень движется назад, клапан на вход открыт, клапан на выход закрыт. Вторую половину цикла он работает на подачу жидкости: поршень движется вперед, клапан на вход закрыт, клапан на выход открыт. Насос, в состав которого входит только одна головка, называется одноплунжерным; насос с двумя головками называется двухплунжерным.
Рассмотрим распределение давления в жидкостной системе работающего хроматографа, в которую включена гидродинамическая нагрузка – хроматографическая колонка. На участке жидкостной системы между емкостью с растворителем и головкой насоса (линия отбора растворителя) в целом сохраняется атмосферное давление. Этот участок называют «стороной низкого давления».
На участке жидкостной системы между насосом и колонкой наблюдается максимальное (рабочее) давление, которое в основном определяется гидродинамическим сопротивлением применяемой хроматографической колонки. Этот участок называют «стороной высокого давления».
Давление в жидкостной системе постепенно убывает вдоль колонки, и на ее выходе (то есть на входе в детектор) почти сравнивается с атмосферным (см. рис. 34).
Рисунок 34. Профиль давления в жидкостной системе
Фактически, одноплунжерный насос не может обеспечить непрерывного потока жидкости. Тем не менее, одноплунжерные насосы сравнительно недороги, и поэтому часто применяются в ВЭЖХ. Поток жидкости, прерывистый на выходе насоса, постепенно выравнивается либо непосредственно в колонке, либо в колонке и демпфере. Демпфер, по сути, представляет собой всего лишь длинный капилляр с небольшим внутренним диаметром, который устанавливают перед инжектором. Его роль заключается в создании дополнительного гидродинамического сопротивления, что позволяет отчасти сгладить профиль потока на выходе насоса.
Однако, действительно непрерывную подачу растворителя может обеспечить только более сложный двухплунжерный насос. В его состав, как уже было сказано, входят две головки. Поршни в двухплунжерном насосе работают в противофазе. В момент, когда одна головка насоса работает на отбор жидкости, другая работает на подачу, и наоборот (см. рис. 35а). Выходы с головок объединены в одну линию, на которой установлен сливной клапан, закрытый в обычном режиме работы. Он открывается при замене элюента или при промывке насоса.
В последнее время все большую популярность получают двухплунжерные насосы, работающие по несколько иной схеме (см. рис. 35б). В этом варианте головки соединяют не параллельно, а последовательно, причем объем первой головки в два раза превосходит объем второй. Поршни также работают в противофазе. Когда меньшая головка работает на подачу, то большая работает на отбор; клапан между головками перекрыт. Когда меньшая головка начинает работать на отбор, то клапан между головками открывается. Большая головка, работая на подачу, одновременно обеспечивает меньшую головку жидкостью, а также поддерживает непрерывность потока. Подобная система требует наличия трех клапанов, или всего двух клапанов, если насос рассчитан на работу только при постоянной скорости.
Рисунок 35. Схемы плунжерных насосных систем высокого давления
Рисунок 36. ВЭЖХ насос Gilson 30X
Рисунок 37. Дегазатор
Рисунок 38. Градиентная насосная система со смешиванием на стороне высокого давления
Рисунок 39. Градиентные насосные системы со смешиванием с области высокого (а) и низкого (б) давления
Плунжерный насос, используемый в единственном числе и автономно, может обеспечить лишь изократическое элюирование. Для создания градиента необходимо иметь более сложную насосную систему, которую собирают по одной из двух принципиально возможных схем: «со смешиванием элюента в области высокого давления» и «со смешиванием элюента в области низкого давления».
Первыми появились системы со смешиванием в области высокого давления (см. рис. 39а). Для создания градиента здесь используют два плунжерных насоса высокого давления; они могут быть как двухплунжерными, так и одноплунжерными. Каждый насос отбирает из отдельного резервуара «свой собственный», определенный растворитель или их смесь. Традиционно, насос, который отбирает растворитель меньшей элюирующей силы, маркируют как насос «А» (или «линия А»), а насос, который забирает растворитель большей элюирующей силы, маркируют как «насос В» (или «линия В»). Опционально на стороне низкого давления, между резервуарами и насосами, возможна установка дегазатора (в этом случае у дегазатора оказываются задействованными всего две линии).
Оба насоса подают растворители в смеситель, который устанавливают на стороне высокого давления, то есть после насосов. Таким образом, название градиентной насосной системы – «система со смешиванием на стороне высокого давления» – указывает на то, что смешивание растворителей происходит при высоком давлении.
Соотношение смешиваемых растворителей, то есть состав элюента, на данный момент хроматографического анализа определяется отношением скоростей подачи растворителя каждым из насосов. К примеру, элюент состава 1:1 получается при равных скоростях подачи на линиях А и В. Скорость подачи на каждом насосе в процессе анализа автоматически регулируется либо установленной на ПК программой, либо (при ручном управлении хроматографом) специальный блоком – программатором градиента.
Смеситель на градиентной системе может быть как динамическим – с принудительным перемешиванием потоков внутри камеры смесителя, – так и статическим, без принудительного перемешивания. Статический смеситель, фактически, представляет из себя простой тройник с минимальным мертвым объемом (см. рис. 40).
Рисунок 40. Смеситель-тройник
Считается, что динамические смесители за счет более эффективного перемешивания обеспечивают лучшую воспроизводимость времен удерживания при градиентном элюировании. Однако, по сравнению со статическими смесителями, динамические, как правило, обладают большим мертвым объемом – и большей задержкой градиента. Необходимо помнить, что объем камеры динамического смесителя должен составлять небольшую долю от мертвого объема применяемой колонки; для микроколонок необходимо применять специализированные динамические микросмесители или статические смесители.
После смесителя готовый элюент поступает в инжектор и далее в колонку.
Как правило, градиентные системы со смешиванием на стороне высокого давления имеют только две жидкостные линии, не более. Причина заключается в том, что еще одна жидкостная линия в данном случае означает включение еще одного дорогостоящего насоса в систему; такое решение нецелесообразно с финансовой точки зрения.
Другой тип градиентной системы называется системой со смешиванием в области низкого давления (см. рис. 39б). Название системы указывает на то, что смеситель в данном случае расположен до насоса, то есть на стороне низкого давления. В этом случае для работы необходим всего один плунжерный насос; а вот линий отбора растворителя может быть несколько: обычно, до трех или четырех в одной системе.
Единственный насос работает здесь при постоянной скорости. Изменение состава элюента в течение анализа производится при помощи установленного в смесителе распределительного клапана, который дозирует в смеситель заданные объемы растворителей из каждой задействованной линии. В свою очередь, работу распределительного клапана контролирует либо программа, либо (при ручном управлении хроматографом) программатор градиента.
Нередко в таких системах смеситель и дегазатор бывают выполнены в едином блоке. Его устанавливают до насоса, на стороне низкого давления. Тип смесителя, как правило, динамический. Готовый элюент поступает в насос, а оттуда – в инжектор и колонку.
Основной недостаток градиентных систем со смешиванием на стороне низкого давления – значительный объем линии жидкостной системы между входом в смеситель и колонкой (см. рис. 39б), что приводит к существенной задержке профиля градиента. По этой причине подобные системы целесообразно применять как изократические системы с расширенными возможностями.
1.3.2. Системы инжектирования
Инжектор является блоком ввода пробы. Он может быть либо ручным (ручной инжектор), либо автоматическим (автосамплер).
Ручной инжектор представляет собой кран с шестью выходами и двумя положениями переключателя (см. рис. 41). Все выходы располагаются на задней стороне крана, и лишь один из них в наиболее ходовых моделях дублируется на лицевой стороне (выход 1 на рис. 42а). Через этот выход производится заполнение инжектора пробой.
Заполнение пробой осуществляют при помощи аналитического шприца (см. рис 43) с затупленным концом иглы. Избыток пробы через выход 2 поступает в слив (например, виалу).
Два выхода крана (3,4 на рис. 42) задействованы под инжекционную петлю – отрезок капилляра точно известного объема, который, собственно, и определяет объем вводимой пробы. Остальные два выхода соединяют инжектор с насосом и с колонкой.
У крана есть два положения ручного переключателя: «LOAD» (загрузка) и «INJECT» (ввод). В положении «LOAD» дозирующая петля (контур 1-4-3-2) исключена из жидкостной системы прибора, то есть находится при атмосферном давлении; при этом элюент по контуру 6-5 поступает из насоса напрямую в колонку. В положении «INJECT» дозирующая петля включается в общую жидкостную систему (6-3-4-5), то есть элюент идет из насоса в колонку через инжекционную петлю.
Для ввода пробы сначала необходимо набрать в аналитический шприц некоторый ее объем, превышающий (в небольшим запасом) объем инжекционной петли. Переключатель крана следует перевести в положение «LOAD» (загрузка). Шприц направляют в 1-ый выход крана (в распространенных моделях он выведен на лицевую сторону) и до упора подают его в инжектор. Плавно дозируют пробу, и затем достаточно резким движением переводят переключатель в положение «INJECT» (ввод). Проба введена.
Если инжектор электрически соединен с управляющим блоком хроматографа (или АЦП прибора), то анализ при переключении крана с «загрузки» на «ввод» запускается автоматически. При отсутствии электрического соединения анализ следует запустить вручную.
Ручной инжектор может быть объединен с блоком термостатирования хроматографических колонок (см. рис. 44).
Рисунок 41. Ручной инжектор типа Rheodyne, вид сзади
Рисунок 42. Схемы, поясняющие работу ручного инжектора типа Rheodyne: LOAD - схема работы при повороте вентиля в положение «LOAD» (режим заполнения петли образцом), INJECT - схема работы при повороте вентиля в положение «INJECT» (режим анализа), 1 – отверстие для инжекции жидкого образца при помощи аналитического шприца (на лицевой стороне), 2 – слив образца, 3,4 – дозирующая петля, 5 – выход к хроматографического колонке, 6 – вход для элюента (от насоса)
Рисунок 43. Аналитические шприцы для ВЭЖХ: с фиксированной иглой (слева) и со сменной иглой (справа)
Рисунок 44. Термостат колонок со встроенным ручным инжектором
Принцип действия автоматического инжектора (автосамплера, см. рис. 45) аналогичен принципу действия ручного инжектора – с той лишь разницей, что в автосамплере все действия автоматизированы. Оператору нужно лишь установить образец в специальный планшет и указать номер позиции в управляющей программе. Робот сам отбирает пробу встроенным аналитическим шприцем и вводит ее через переключающий кран в жидкостную систему.
Автосамплер сравнительно недешев; однако, по сравнению с ручным инжектором он обладает рядом крайне важных преимуществ. Наиболее ярко они проявляются при проведении количественных определений, и в особенности «на потоке».
Очевидным преимуществом является полная автоматизация анализа. Прибор выводят на режим, загружают в автосамплер партию однотипных образцов (на сленге также «сет», от англ. set) – и анализ всей партии образцов происходит далее автоматически, без участия оператора.
Далее, при помощи ручного инжектора с приемлемой точностью можно ввести пробу только определенного объема – равного объему установленной инжекционной петли. Для изменения объема вводимой пробы надо заменить петлю, что на практике просто нецелесообразно делать слишком часто. При использовании автосамплера такой проблемы не существует: точная автоматика позволяет вводить пробу произвольного объема в достаточно широком диапазоне, который определяется емкостью установленного на автосамплере аналитического шприца.
И последнее важное преимущество автосамплера состоит в том, что после ввода пробы автоматика тщательно промывает инжекционный кран от остатков пробы. Таким образом, применение автосамплера гарантированно предотвращает перекрестное загрязнение проб.
При применении ручного инжектора промывать его также приходится вручную, и, разумеется, каждый раз после очередного проведенного анализа. Это достаточно трудоемкая процедура, однако, от нее никак нельзя уйти.
Ручной инжектор обычно промывают перед вводом очередной пробы. Промывку осуществляют двумя-тремя порциями промывочной жидкости, которая по составу должна быть близка к применяемому элюенту. Промывочную жидкость, как правило, помещают в небольшой стаканчик или небольшой цилиндр объема порядка 25 мл: игла шприца должна полностью погружаться в промывочную жидкость.
Переводят кран в положение «LOAD». После промывки крана каждой очередной порцией промывочной жидкости иглу аналитического шприца и сам внутренний объем шприца также промывают. Для этого один-два раза отбирают полный объем шприца промывочной жидкости (при полном погружении иглы в жидкость) и переносят ее в слив (то есть не обратно в емкость!).
Рисунок 45. Автосамплер НТ800
Рисунок 46. Градиентная насосная система со смешиванием на стороне высокого давления Gilson и автосамлер НТ800
1.3.3. Фотометрический и флуориметрический детекторы. Поглощение УФ излучения растворителями. Другие детекторы для ВЭЖХ
Наиболее распространенным детектором в ВЭЖХ является фотометрический детектор (photometric detector). В фотометрическом детекторе происходит измерение интенсивности света, который проходит через элюат, непрерывно поступающей из хроматографической колонки. Если в какое-то время происходит ослабление интенсивности света – значит, через кювету детектора проходит растворенное в элюате вещество. Оно регистрируется детектором в виде пика.
Фотометрический детектор является аналогом зрения. Фотометрический детектор, который «видит» соединения, поглощающие свет в УФ-диапазоне (190 нм - 400 нм), называется УФ детектором (UV detector). По аналогии, детектор, который «видит» окрашенные соединения в видимом человеку диапазоне (400 нм - 900 нм), называется детектором в видимом диапазоне, Вид детектором (Vis detector). Предпочитают применять, конечно, комбинированный УФ/Вид фотометрический детектор (UV/Vis detector). Он «видит» все органические соединения с хромофорными группами, поглощающими свет и в ультрафиолетовом, и в видимом диапазонах.
Таблица 2. Характерные полосы поглощения функциональных групп и химических соединений в УФ диапазоне
Функциональная группа или химическое соединение
λ, нм
Сахариды 190-200
R-SH, тиоспирты 192, 225
R-COOH, R-CO(O)-R,
карбоновые кислоты и сложные эфиры 195-210
R3N, третичные алкиламины 199, 227
R-Br, алкилбромиды 200-210
R-S-R, алкилсульфиды 210, 229
Триглицериды, фосфолипиды 203-213
R-C(O)-NH2, амиды 175, 214 (в воде)
R-C=C-C=C-R, ациклические диены 214-217
Толуол 207, 261
Фенол 210, 270
Aлкины 223
R-C=C-C(O)-R 210-255
R-I, алкилйодиды 225-260
R-C(O)-NH-C(O)-Alk, карбамиды 230-240
Бензойная кислота 230, 270
Анилин 230, 280
Нафталин 220, 286, 312
Индол 225, 265
Нуклеозиды 240, 254, 260
R-NO2, нитроалканы 270-280
R-C(O)-R, кетоны 180-190, 270-290
Антрацен 221, 256, 375
Полифенольные соединения 270-280
Пуриновые алкалоиды 280
R-CHO, альдегиды 290
R-NO, нитрозоалканы 300, 600-650
Оксикоричные кислоты 330
R-N=N-R, азоалканы 347-370
Каротиноиды 290, 380, 436, 440, 445, 480
Порфирины 400, 404
Флавонолы 470
Антоцианы 520
Синтетические красители 400-600
Большинство органических соединений не окрашены с точки зрения человека – они поглощают свет в УФ диапазоне. УФ детектор способен работать со светом в ближнем и среднем УФ диапазоне, то есть со светом с длиной волны от 190 нм до 400 нм. С более жестким излучением с длиной волны менее 190 нм работать бессмысленно, так как большинство пригодных для работы растворителей, из которых готовится элюент, сами непрозрачны в этом диапазоне (см. табл. 3). Наиболее прозрачным растворителем является вода. С действительно чистой водой, к примеру, марки «для жидкостной хроматографии», можно работать вплотную к границе 190 нм. На практике для детектирования наиболее часто применяют длины волн из диапазона от 210 нм до 280 нм.
Таблица 3. Нижние границы λmin диапазона длин волн, в котором могут применяться растворители для жидкостной хроматографии. Показатели преломления nD20 для различных растворителей
Растворитель
λmin, нм
nD20
Ацетон 326 1.3591
Ацетонитрил 210 1.3437
Бензол 276 1.5011
Бутанол 210 1.3993
Вода 200 1.3333
Н-Гексан 210 1.3750
Н-Гептан 210 1.3876
Декалин (цис) 215 1.4804
Декалин (транс) 215 1.4697
Диоксан 215 1.4223
1,2-Дихлорэтан 235 1.4443
Дихлорметан (ДХМ) 235 1.4237
Диметилформамид (ДМФА) 270 1.4294
Изооктан 210 1.3916
Метанол 215 1.3286
Метилформиат 260 1.344
Н-пентан 210 1.3577
Н-Пропанол 210 1.3854
Изопропанол 210 1.3776
Уксусная кислота (ледяная) 248 1.3715
Формамид 270 1.4472
Хлороформ 245 1.4456
Циклогексан 210 1.4263
Четыреххлористый углерод 265 1.4603
Этанол 210 1.3613
Диэтиловый эфир 210 1.3528
Этилацетат 251 1.3728
Любые примеси, содержащиеся в растворителях для хроматографии, сдвигают границу рабочего диапазона растворителя в сторону больших длин волн. При работе на коротких длинах волн применение «грязных» растворителей снижает чувствительность детектора. Это легко понять, представив, насколько отчетливо видно темное пятно на белом фоне, и как трудно оно различимо, если фон серый. Поэтому в жидкостной хроматографии применяют очень чистые растворители. Для градиентного элюирования необходимы растворители особой чистоты.
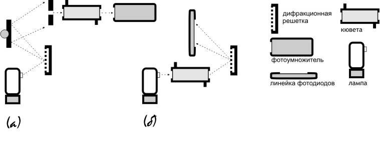
Фотометрический детектор с варьируемой длиной волны детектирования называют спектрофотометрическим детектором, СФД (spectrophotometric detector). Принципиальная схема устройства спектрофотометрического детектора с одноканальным детектирующим элементом приведена рисунке 47а, с многоканальным – на рис. 47б.
Рассмотрим сначала схему устройства спектрофотометрического детектора с одноканальным детектирующим элементом.
Источником света в спектрофотометрическом детекторе любого типа является лампа (или лампы). Излучение ламп имеет непрерывный спектр в определенном диапазоне. В УФ детекторах в качестве источника света чаще всего используют дейтериевую лампу (deuterium lamp) и значительно реже ксеноновую (xenon lamp), в Вид детекторах – вольфрамовую лампу (tungsten lamp). В УФ/Вид детекторе, как правило, устанавливают две лампы: дейтериевую и вольфрамовую – и значительно реже используют единственную ксеноновую лампу.
Свет лампы попадает в монохроматор, в котором происходит выделение из всего излучения его части, которая приходится на очень узкий интервал длин волн вокруг требуемого значения. Так, если для детектирования необходима длина волны 260 нм, монохроматор способен выделить свет в узком интервале около 260 нм, например, от 258 нм до 262 нм. Такое излучение называют квази-монохроматическим.
Основным элементом монохроматора является дифракционная решетка, задача которой состоит в разложении света лампы в спектр. Бытовой пример действия дифракционной решетки – это радужные блики на поверхности CD/DVD дисков. Из разложенного в спектр света квази-монохроматический пучок выделяется простым пропусканием излучения требуемого диапазона через узкую щель, которая называется спектральной щелью. Свет заданной длины волны (точнее, заданного узкого интервала) направляется на щель поворотом дифракционной решетки.
Монохроматичность выделенной части излучения зависит определяется шириной спектральной щели. В многих спектрофотометрических детекторах она по умолчанию равна 5 нм, то есть плюс-минус 2.5 нм от заданного значения.
Рисунок 47. Схемы устройства сканирующего (а) и диодно-матричного (б) спектрофотометрических детекторов
Рисунок 48. Спектрофотометрический детектор Gilson
Рисунок 49. "Полумикро" кювета
После монохроматора квази-монохроматичный свет проходит через прозрачную проточную кювету (cell), по которой протекает элюат. В детекторах современных конструкций свет может проходить через кювету более одного раза. Это сделано для увеличения чувствительности фотометрических детекторов, поскольку чувствительность пропорциональна длине оптического пути.
Важной характеристикой кюветы является ее объем. Как правило, по этому параметру кюветы подразделяют на стандартные аналитические (10-15 мкл), полумикро- кюветы (2-3 мкл, см. рис. 49) и микрокюветы (порядка 0.2 мкл и менее). Кюветы большего объема обеспечивают более высокую чувствительность за счет большего оптического пути. Кроме того, они дешевле, чем микрокюветы – иногда в разы. По этой причине хроматографические детекторы по умолчанию комплектуют наиболее дешевыми стандартными аналитическими кюветами.
Однако, у кювет большого объема есть серьезный недостаток. Весь объем кюветы является, по сути, частью общего мертвого объема жидкостной системы хроматографа. Чем больше кювета, тем меньше эффективность разделения. Причина эффекта заключается в дополнительном размывании хроматографической зоны в кювете. Таким образом, при работе на коротких ( < 100 мм) аналитических колонках или длинных микроколонках на детектор следует устанавливать полумикро- кювету, а при работе на коротких микроколонках или длинных капиллярных колонках – микрокювету.
Интенсивность прошедшего через элюат света регистрируется одноканальным детектирующим элементом, в качестве которого повсеместно используют фотоэлектронные умножители, ФЭУ (photoelectron multiplier tube, PMT), и лишь в крайне редких случаях – одноканальные фотодиоды. Другими словами, интенсивности прошедшего через кювету света ставится в соответствие аналоговый электрический сигнал.
В спектрофотометрических детекторах более простых конструкций детективание ведется на одной длине волны. Такие детекторы называют одноволновыми (single wavelength detector).
Схема детектора с одним одноканальным детектирующим элементом, тем не менее, позволяет реализовать и возможность одновременного многоволнового детектирования. Сканирующие спектрофотометрические детекторы позволяют проводить регистрацию хроматограммы сразу на нескольких длинах волн даже при наличии всего одного одноканального детектирующего элемента. Быстрое переключение с первой заданной длины волны на вторую (третью, четвертую, … и обратно на первую) осуществляется быстрым поворотом механического привода дифракционной решетки. Таким образом, результатом одного анализа являются сразу несколько хроматограмм, записанных на различных длинах волн.
Среди сканирующих детекторов наибольшее распространение получили двухволновые (dual wavelength detector), способные регистрировать одновременно две хроматограммы (на двух длинах волн).
Наличие двух хроматограмм на двух различных длинах волн дает видимые преимущества в надежности идентификации веществ. Каждое вещество регистрируется в виде двух пиков; отношение высот этих пиков, спектральное отношение, является еще одной индивидуальной характеристикой вещества в дополнение ко времени удерживания (см. рис. 50).
Рисунок 50. Участок хроматограммы на длинах волн 230 нм и 254 нм из двух пиков с разными спектральными отношениями n (230/254)
Диодно-матричные спектрофотометрические детекторы, или просто диодно-матричные детекторы, ДМД (diode-array detector, DAD) изначально сконструированы для многоволнового детектирования.
Такие детекторы проводят регистрацию полного спектра проходящего через детектор элюата в каждой точке на хроматограмме. Как правило, спектральный диапазон ДМД включает и УФ, и видимую области. Для удобства отображения хроматограмму, полученную при помощи диодно-матричного детектора, принято приводить не более чем на четырех длинах волн. Спектр в выбранной на хроматограмме точки приводят в отдельном окне (см. рис. 51).
Рисунок 51. Сравнение УФ спектра стандарта со спектрами двух пиков на хроматограмме: (а) спектр стандарта; (б) высокий уровень совпадения, (в)низкий уровень совпадения
Наличие полного спектра еще больше увеличивает надежность идентификации вещества. Значительно снижается вероятность принять несколько неразрешенных пиков за один компонент. Кроме того, ДМД дает информацию о оптическом спектре поглощения каждого элюируемого компонента, что можно использовать в исследовательских целях.
Однако, цена ДМД почти вдвое превосходит стоимость двухволнового сканирующего детектора. В случае применения хроматографа для хорошо отработанных рутинных задач выбор двухволнового детектора может быть оправдан в большей степени, чем выбор в пользу приобретения диодно-матричного детектора.
Схема устройства диодно-матричного детектора приведена на рисунке 47б. Пучок полихроматического света от лампы проходит вначале через кювету, и лишь затем попадает на дифракционную решетку и раскладывается в спектр. В данном случае оптическая система, содержащая дифракционную решетку как главный элемент, называется полихроматором – поскольку для регистрации необходим не единственный выделенный квази-монохроматический пучок, а весь спектр целиком.
Весь спектр излучения единовременно регистрируется многоканальным детектором на основе т.н. диодной матрицы – линейки, состоящей из нескольких сотен расположенных в ряд полупроводниковых фотодиодов.
Вторым по распространенности среди детекторов для ВЭЖХ является флуориметрический детектор, ФЛД (fluorescence detector, FLD). Его действие основано на явлении флуоресценции – собственного свечения вещества в процессе облучения его светом стороннего источника.
Излучение света веществом, эмиссия (emission, em.), всегда происходит в более длинноволновой области, чем первоначальное облучение – возбуждение (excitation, ex.). Как правило, возбуждение осуществляется светом в УФ диапазоне, а эмиссия происходит в видимой части спектра.
Рисунок 52. Схемы устройства флуориметрических детекторов с одним (а) и двумя (б) монохроматорами
Флуоресцируют далеко не все органические вещества. Для флуоресценции необходимо, чтобы структура соединения включала сопряженную ненасыщенную систему, например, ароматическую систему, желательно с электрон-донорными и/или электрон-акцепторными заместителями. Хорошо флуоресцируют полиароматические углеводороды, их производные, ароматические амины. Подобные соединения определяют при помощи флуориметрического детектора очень селективно и с большой чувствительностью.
Флуориметрический детектор также часто применяют для определения следовых концентраций различных соединений в виде их различных производных – дериватов.
Схема устройства флуориметрического детектора с одним монохроматором – монохроматором возбуждения (excitation monochromator) – приведена на рисунке 52б.
Свет лампы вначале попадает в монохроматор, где происходит выделение квази-монохроматического пучка света необходимой длины волны. Возбуждающее излучение далее направляется на проточную кювету. Флуоресцентное излучение, выходящее из торцевых граней кюветы, то есть под прямым углом к возбуждающему излучению, собирается параболическим зеркалом и подается на оптический фильтр. Фильтр отсекает остаточное рассеянное возбуждающее излучение, поскольку пропускает только свет в видимом диапазоне. Затем флуоресцентное излучение регистрируется фотоумножителем, ФЭУ.
На рисунке 52а приведена схема сканирующего флуориметрического детектора с двумя монохроматорами. В этом варианте флуоресцентное излучение после прохождения через оптический фильтр попадает во второй монохроматор, который называется монохроматором эмиссии. Там оно раскладывается дифракционной решеткой в спектр флуоресценции. Выделенный при помощи спектральной щели квази-монохроматический пучок флуоресцентного излучения регистрируется ФЭУ.
Как правило, монохроматор эмиссии делают сканирующим, то есть ФЛД с двумя монохроматорами способен производить одновременное детектирование на нескольких длинах волн эмиссии (обычно до четырех единовременно).
Спектрофотометрический и флуориметрический детекторы относятся к т.н. оптическим детекторам. Оптические детекторы обладают рядом сходных регулируемых параметров, влияющих на характеристики детектора. К примеру, к таким характеристикам относится постоянная времени и ширина спектральной щели монохроматора.
Важной характеристикой любого детектора и вообще метода детектирования является специфичность детектирования. Под специфичностью понимают способность детектора реагировать с высоким откликом на целевое вещество (вещества), и при этом не реагировать на мешающие определению коэлюирующиеся примеси. К примеру, из оптических детекторов наибольшей специфичностью обладает флуориметрический детектор, поскольку далеко не все органические соединения проявляют флуоресценцию. Спектрофотометрические детекторы обладают меньшей специфичностью, поскольку способностью поглощать УФ излучение обладают многие органические соединения.
Кроме оптических, в жидкостной хроматографии применяют ряд других детекторов: рефрактометрический детектор и испарительный детектор светорассеяния, электрохимические детекторы (кондуктометрический и вольтамперометрический) и масс-селективные детекторы различных типов.
Рефрактометрический детектор (refractive index detector, RID) применяется для определения веществ, плохо поглощающих свет даже в ультрафиолетовом диапазоне, например, сахаров, многоядерных спиртов, различных поверхностно-активных веществ. Детектор регистрирует коэффициент преломления, или показатель рефракции (refractive index, RI) nD20 элюата.
Данный детектор имеет достаточно много недостатков. Он обладает сравнительно низкой чувствительностью. В то же время, детектор очень восприимчив к изменению состава элюата, и поэтому несовместим с градиентным элюированием.
Более того, он весьма восприимчив также к флуктуациям температуры. По этой причине ячейка с кюветой в рефрактометрическом детекторе термостатируется. Температура ячейки детектора по возможности не должна отличаться от температуры, которая поддерживается в термостате хроматографических колонок.
Рисунок 53. Рефрактометрический детектор Gilson
Испарительный детектор светорассеяния (evaporative light scattering detector, ELSD) был введен в практику ВЭЖХ как эффективная альтернатива рефрактометрическому детектору. Он также применяется для определения веществ, плохо поглощающих свет.
Принцип действия испарительного детектора светорассеяния основан на измерении величины рассеяния света мелкими твердыми частицами веществ, содержащихся в элюате, после его распыления и высушивания (то есть после отгонки растворителя).
К достоинствам ELSD следует отнести:
- его более высокую чувствительность по сравнению с рефрактометрическим детектором,
- примерное равенство откликов для различных веществ – что удобно для детектирования макрокомпонентов, и для неселективных детекторов рассматривается как преимущество,
- хорошая, в отличие от рефрактометрического детектора, совместимость с градиентным элюированием.
К недостаткам ELSD можно отнести:
- ограниченную совместимость с добавками различных реагентов в элюент (например, ион-парных реагентов),
- значительную нелинейность градуировочной кривой – для градуировки в широком диапазоне допускается применять полиномы высших степеней, например, кубическую зависимость.
Кондуктометрический детектор (conductivity detector) является основным детектором в ионной хроматографии. Он измеряет электрическую проводимость элюата. Кондуктометрический детектор применим для определения любых соединений, существующих в форме ионов: неорганических солей (анионов и катионов), органических кислот в анионной форме и органических оснований в катионной форме.
Вольтамперометрический детектор (electro-chemical detector, ECD) измеряет ток, возникающий при приложении заданного потенциала окисления к элюату. Вольтамперометрический детектор с большой чувствительностью определяет вещества, способные легко окисляться: фенолы, редуцирующие сахариды, амины.
Масс-спектрометрические детекторы (MS detector, MSD) обладают высокой универсальностью; в зависимости от задачи их можно применять и для неселективного, и для высокоселективного детектирования.
МС детекторы способны регистрировать все компоненты с определенной молекулярной массой, которые содержатся в попадающем в детектор элюате. В большинстве случаев МС детекторы применяют в многоканальном варианте – настраивая прибор на детектирование по нескольким молекулярным массам одновременно.
Принцип действия МС детекторов несколько различается в зависимости от их типа. В общем случае элюат, попадающий в детектор, распыляется и высушивается (то есть происходит отгонка растворителя). Тонкий спрей элюата подвергается ионизации; в ВЭЖХ наиболее распространены такие технологии ионизации при атмосферном давлении как ионизация в электроспрее (ESI), химическая ионизация при атмосферном давлении (APCI), а также ее подвид с дополнительной фотоионизацией (APPI).
Ионы элюируемых соединений, иногда в виде ассоциатов с молекулами растворителя или металлами, попадают в блок МС детектора, который в общем случае называется масс-анализатором. В масс-анализаторе происходит разделение (пространственное или во времени) молекулярных ионов по величине отношения массы к заряду, что для одинаково заряженных ионов означает разделение по величине молекулярной массы. Работа масс-анализаторов любого типа основана на взаимодействии движущихся молекулярных ионов с магнитными полями, постоянными или переменными.
Молекулярные ионы регистрируются при помощи электронного умножителя (electron multiplier), по устройству и принципу действия схожего с фотоэлектронным умножителем, ФЭУ.
В настоящий момент существует достаточно много типов МС детекторов, различающихся по спектральному разрешению, скорости сканирования, диапазону молекулярных масс, динамическому диапазону, доступным методам ионизации, возможности получения МС спектров и т.д.
Каждая из технических характеристик МС детектора может оказаться критически важной для успешности выполнения той или иной аналитической задачи. К примеру, чувствительность детектирования целевых веществ определенной химической природы в заданных условиях хроматографирования может сильно зависеть от выбранного метода ионизации. Для «быстрой» хроматографии важна скорость сканирования; для определения следовых концентраций – чувствительность; для протеомных исследований – диапазон молекулярных масс и возможность получения МС спектров.
К недостаткам детектора можно отнести высокую стоимость, а также повышенные требования к квалификации персонала. Среди технических недостатков МС детекторов стоит упомянуть их ограниченную совместимость с добавками реагентов в элюент – добавлять можно только летучие компоненты (уксусную и трифторуксусную кислоты, аммиак, ацетат аммония), причем, желательно, в небольших количествах.
К преимуществам масс-спектрометрических детекторов следует отнести неповторимую специфичность детектирования и высокую чувствительность.
Одним из следствий уникальной специфичности детектора является возможность выделения сигнала аналита даже при частичном наложении неразделенных пиков (см. рис. 54). Тем не менее, от макрокомпонентов целевое вещество должно быть по возможности хорошо отделено: коэлюируемые соединения могут оказать влияние на отклик детектора по целевому веществу, что приведет к неправильному результату количественного анализа. Кроме того, специфичность МС детектирования не сможет помочь в случае неполного разделения пространственных изомеров, поскольку их молекулярные массы одинаковы, и МС спектры почти идентичны.
Рисунок 54. Выделение сигнала аналита из тройки частично разделенных пиков не изомерных соединений (при применении масс-селективного детектирования)
По причине высокой специфичности хроматография с МС детектированием нередко применяется в качестве арбитражного метода: одновременное совпадение времени удерживания и молекулярной массы можно считать весомым доказательством верной идентификации.
1.3.4. Соединение блоков в единую хроматографическую систему
В стоимость нового хроматографа, как правило, входит первоначальная сборка всей системы сервис-инженером поставщика. Однако, это совершенно не означает, что оператор не должен уметь разбирать и собирать всю систему самостоятельно. Во-первых, различные части жидкостной системы требуют периодического обновления, вплоть до замены; вызывать же по каждому «дежурному» случаю сервис-инженера не представляется возможным.
Во-вторых, преимущество блочно-модульного строения современных жидкостных хроматографов заключается в возможности быстрого и простого комбинирования блоков в конфигурацию, необходимую для решения той или иной аналитической задачи. Установить на насос дополнительную жидкостную линию, присоединить-отсоединить детектор, включить в систему дополнительный переключающий кран – у уверенного пользователя подобные задачи не должны вызывать вопросов.
У жидкостного хроматографа, фактически, есть две структуры, объединяющие блоки прибора в единое целое: жидкостная система и система связи блоков с управляющей программой.
Электронная система связи блоков с «мозгом» прибора существует только у тех приборов, для которых разработана управляющая программа. Такое программное обеспечение (ПО), устанавливаемое на компьютере, позволяет централизованно, с компьютера, управлять всеми блоками прибора и регулировать их настройки, а также регистрировать сигнал(ы) детектора (или детекторов) и производить обработку хроматографических данных.
Схема электронного соединения блоков при этом может быть как проводной, так и беспроводной. Основной процессор, «мозг» прибора, либо помещают в отдельный блок, либо встраивают его в один из блоков хроматографа (например, в спектрофотометрический детектор). Порядок установки ПО и отладки связи программы с блоками прибора приводится в руководстве по эксплуатации хроматографа. Подробно на этом вопросе останавливаться не имеет смысла, поскольку у разных марок хроматографов электронные системы связи блоков могут различаться – даже для приборов одной фирмы, не говоря уже о приборах различных производителей.
Как было отмечено, организовать работу на хроматографе можно и без наличия управляющей программы. Прибор в этом случае часто собирают из блоков различных фирм-производителей, которые не стыкуются между собой в плане информационного обмена между блоками. У них должна быть только одна техническая особенность: возможность ручного управления блоков с ее лицевой панели. Никакого «мозга» в этом случае у прибора нет – все настройки вводит сам оператор, набирая их с помощью клавиатуры и/или тумблеров на лицевой панели каждого из блоков. Чисто с практической стороны это не сложнее и не проще, чем ввести эти настройки с клавиатуры компьютера.
Компьютерная программа, тем не менее, нужна и в этом случае – она, конечно, не управляет блоками, но регистрирует сигнал(ы) детектора и производит обработку хроматографических данных. Ее часто так и называют: ПО сбора и обработки данных – подразумевая, что она не является частью централизованной управляемой платформы. Такие программы, как правило, поставляют вместе с небольшим электронным модулем, аналого-цифровым преобразователем, АЦП (analog-to-digital converter, ADC). Компьютер соединяют с АЦП через COM-порт по цифровому каналу, а детектор подключают к АЦП по аналоговому каналу.
Соответственно, для работы со внешней программой сбора и обработки данных ВЭЖХ детектор должен иметь аналоговый выход (или выходы). Аналоговые выходы принципиально могут быть у одно- или двухканальных детекторов: одно- и двухволновых спектрофотометрических детекторов, одноканальных флуориметрических, рефрактометрических. Однако, далеко не у каждого производителя наличие аналоговых выходов для своих детекторов вообще предусмотрено.
В целом, возможность автономного управления каждым блоком с лицевой панели и наличие аналоговых выходов у детекторов является значимым преимуществом оборудования даже для централизованно управляемых ВЭЖХ платформ.
Теперь рассмотрим устройство жидкостной системы хроматографа. К настоящему времени ее основные элементы в значительной мере приведены к общим стандартам.
Для жидкостного соединения блоков применяют достаточно широкие пластиковые (из тефлона) трубки и пластиковые (PEEK) или стальные капилляры с небольшим внутренним диаметром.
Трубки используют для транспортировки растворителей на стороне низкого давления, то есть во всех системах, расположенных до насоса высокого давления. Они легко изгибаются; внутренний диаметр трубки составляет около 2 мм, внешний – порядка 3 мм.
Из трубок выполнены жидкостные линии для отбора растворителя из емкостей. На одном конце такой трубки (который погружают в емкость с растворителем) находится съемный пористый фильтр – стальной или пластиковый (см. рис. 55). Другим концом линию соединяют либо непосредственно с насосом (см. рис. 56), либо с дегазатором (если перед насосом установлен дегазатор, см. рис. 57), либо – в градиентных системах со смешиванием на стороне низкого давления – со смесителем/дегазатором.
Рисунок 55. Линии отбора элюента со металлическим и полимерным пористыми входными фильтрами
Рисунок 56. Крепление линии отбора элюента к нижнему клапану ВЭЖХ насоса
Рисунок 57. Дегазатор на стороне низкого давления (перед насосом)
Герметичность соединения трубки с тем или иным элементом жидкостной системы обеспечивается уплотнением наиболее простого типа: развальцованный (в заводских условиях!) конец трубки плотно зажимают вкручиванием в соединение специального винта под диаметр трубки. Такое соединение может выдерживать давление до нескольких атмосфер, чего на стороне низкого давления оказывается вполне достаточно для нормальной работы.
На участке жидкостной системы после насоса высокого давления все элементы системы соединяют при помощи капилляров. Капилляр для ВЭЖХ представляет собой тонкую трубку с внешним диаметром 1/16” (около полутора миллиметров) и внутренним диаметром от 30 мкм до 200 мкм (глазом разглядеть такое отверстие очень сложно).
Раньше применяли в основном стальные капилляры – из мягкой, гнущейся стали. Сейчас стальные капилляры в основном применяют в системах сверхвысокого давления, к примеру, при давлениях выше 500-600 атмосфер.
Для ОФ хроматографии при давлениях до 300-350 практически повсеместно используют гибкие пластиковые капилляры из материала PEEK (polyether ether ketone). Существует вариант PEEK капилляров со внутренним стеклянным покрытием (типа PEEKsil). Они несколько менее гибкие, чем PEEK, но этот недостаток вполне терпим. Их важное преимущество – совместимость со 100% органическими растворителями и вообще элюентами, обогащенными органическими растворителями; обычные PEEK капилляры в подобных условиях быстро изнашиваются и ломаются в местах изгиба.
Герметичность соединения капилляров с элементами жидкостной системы обеспечивает специальное конусообразное уплотнение – ферула (ferrule). Ферулу одевают на капилляр и зажимают вкручиванием в соединение специального винта под диаметр капилляра (см. рис. 58а). Ферулу и зажимной винт под ферулу называют фитингом (fitting).
Рисунок 58. Схема фитинга (а). Схемы соединений (б) двух капилляров, (в) капилляра и колонки: 1 – капилляр, 2 – фитинг, 3 – зажимной винт, 4 –ферула, 5 – муфта, 6 – ВЭЖХ колонка
В настоящее время существуют, по крайней мере, три немного различающихся варианта технической реализации приведенной схемы уплотнения.
Один из вариантов заключается в использовании вместо раздельных ферулы и зажимного винта единого цельного изделия, то есть цельного фитинга. Как правило, цельные фитинги уплотняют вручную; максимальное давление для уплотнений такого типа составляет порядка 300-350 атм. По форме цельные фитинги могут немного различаться (см. рис. 59). Фитинги с более длинной резьбой и шляпкой под ключ, например, применяют для соединения капилляров с инжекционным краном. Во всех остальных случаях применяют фитинги с менее длинной резьбой.
Фитинги с крупными шляпками применяют в тех узлах жидкостной системы, где давление особенно высоко, и для хорошего ручного уплотнения необходимо тщательно затягивать зажимной винт. Эти узлы – вход колонки (и/или предколонки), выход насоса высокого давления, а также любые опциональные системы между насосом и инжектором: демпфер, смеситель на высоком давлении и т.д. В последнее время появились удобные фитинги с крупной шляпкой и рифленой внутренней поверхностью (см. рис. 60); они плотно, внатяжку охватывают капилляр, что предотвращает «выбивание» PEEK капилляра из фитинга при достаточно высоких давлениях порядка 200-300 атм.
Рисунок 59. Различные типы монолитных РЕЕК фитингов
Рисунок 60. Монолитный РЕЕК фитинг с рифленой внутренней поверхностью
Второй вариант решения применяют в ВЭЖХ как с «традиционными», так и с повышенными давлениями до 400-500 атм (при работе на насосных системах с пределом давления до 600 атм и выше). Здесь применяют раздельный фитинг, однако, имеющий некоторые особенности. Зажимной винт у него выполнен из стали под ключ (типа Hexnut); ферула же выполнена из PEEK, но ее форма не конусообразная, а «двуконусная». Такая двуконусная ферула одинаковым образом уплотняет соединение и со стороны присоединяемого элемента, и со стороны зажимного винта.
Наконец, третье решение – полностью стальные фитинги и стальные капилляры – применяют при давлениях более 500-600 атм на системах сверхвысокого давления. Фитинг здесь также является раздельным. При первом затягивании такого фитинга ферула обжимает и деформирует капилляр из мягкой стали. В результате капилляр и ферула оказываются неразрывно соединены. Сама ферула – при соединении, к примеру, с колонкой – также отчасти деформируется. По этой причине не рекомендуется использовать стальное соединение в том случае, когда колонку приходится часто менять.
Если по умолчанию на выходе инжектора установлен стальной капилляр, который не хочется менять (по принципу «работает – и ладно»), то в сочетании с таким стальным капилляром лучше применять упомянутые фитинги со стальным винтом и двуконусной PEEK ферулой. Хотя и цельные PEEK фитинги вполне применимы.
Для работы с фитингами существует достаточно широкий ассортимент специализированных инструментов (см. рис. 61). Следует помнить (особенно девушкам, которым тяжело затягивать фитинги руками), что гаечные ключи бывают не только под фитинги с шестигранной шляпкой, но и под широкие круглые шляпки для ручного затягивания (см. рис. 62). Для резки стальных и PEEK капилляров применяют специальные резаки (см. рис. 63).
Соединение двух капилляров осуществляется при помощи муфт (см. рис. 64 и рис. 65). Поскольку муфты имеют некоторый мертвый объем, их нежелательно использовать на участке от инжектора до колонки.
Две колонки, а также колонку с предколонкой или ин-лайн фильтром (см. рис. 66) можно соединить либо при помощи отрезка капилляра с двумя фитингами, либо при помощи специального коннектора (см. рис. 67).
Приблизительная последовательность сборки жидкостной системы «с нуля» такова. Сначала монтируют соединения на низкой стороне давления. В простейшем случае изократической системы без дегазатора линию для отбора элюента развальцованным концом (с зажимным винтом) соединяют либо со входом насоса (если насос двухплунжерный), либо напрямую с головкой насоса (если насос одноплунжерный; помните, что входной клапан головки насоса – нижний). Другим концом (с установленным пористым фильтром элюента) линию погружают в емкость с растворителем. В качестве растворителя при наладке жидкостной системы лучше брать тщательно дегазированную воду.
Рисунок 61. Различные виды специализированных ключей для ВЭЖХ
Рисунок 62. Ключи под фитинги для ручного затягивания
Рисунок 63. Инструменты для резки стальных (слева) и РЕЕК (справа) капилляров
Рисунок 64. Муфты и соответствующие фитинги под капилляры (слева) и трубки (справа)
Рисунок 65. Соединение капилляров при помощи муфт: на стороне низкого давления (слева) и на стороне высокого давления (справа)
Рисунок 66. Картриджный ин-лайн фильтр и сменный пористый фильтр-фрит
Рисунок 67. Соединение двух колонок при помощи коннектора
При использовании дегазатора линию отбора растворителя присоединяют к любому активному каналу дегазатора; выход дегазатора со входом в насосную систему соединяют трубкой с двумя развальцованными концами под зажимной винт. В градиентных системах со смешиванием на стороне низкого давления все линии для отбора растворителей, как правило, монтируют на смесителе/дегазаторе в заводских условиях; таким образом, оператору остается лишь соединить выходную трубку смесителя/дегазатора со входом насосной системы.
Далее насосную систему следует заполнить жидкостью (водой), не запуская сам насос. Для этого существуют либо специальные шприцы (purge syringes), либо используют обычные шприцы со специальными насадками (см. рис. 68 и рис. 69). Насадка оканчивается капилляром; на капилляр одевают фитинг и соединяют шприц с выходом из насосной системы. Плавно подают шток шприца на себя до тех пор, пока вся жидкостная система насоса не оказывается полностью заполненной. Далее запускают насос и дополнительно промывают систему при повышенной скорости подачи (5-6 мл/мин).
Если работа ведется на градиентной системе со смешиванием на стороне высокого давления, то следующий этап заключается в соединении каждого насоса со смесителем.
Рисунок 68. Шприц с Люер-насадкой для промывки насосной системы
Рисунок 69. Люер-насадки с разными фитингами для промывки насосной системы
Затем либо насосная система, либо смеситель (в случае градиентной системы высокого давления) соединяют с инжектором: автосамплером или ручным краном-переключателем. В последнем случае перед монтажом стоит ознакомиться со схемой выходов инжектора (она приведена в прикладываемом к крану руководстве), чтобы понять соответствие между номером выхода и его назначением. Помните, что все соединения с инжекционным краном осуществляются при помощи фитингов с большей длиной резьбы. Для их монтажа удобно применять специальные «втульчатые» шестигранные ключи.
К кранам обычно прикладывают «родные» стальные фитинги, но вместо них лучше сразу применять специализированные PEEK фитинги – если только речь не идет о высоких давлениях более 500 атм. Также имеет смысл сразу заменить стальной капилляр на выходе инжектора на PEEK или PEEKsil капилляр. При работе в области протеомики, фармацевтики, криминалистики также можно задуматься о замене стальной петли, установленной на кране по умолчанию, на более химически инертную PEEK или PEEKsil инжекционную петлю.
После монтажа инжектора следует еще раз запустить насос, чтобы заполнить смонтированный участок жидкостью. Далее на выходной капилляр инжектора устанавливают тестовую обращенно-фазовую колонку. Раньше в качестве тестовой чаще применяли 150х4.6 колонку с 5 мкм С18 адсорбентом, сейчас уже возможны и другие варианты. Запускают насос на средней скорости (для колонок диаметра 4 и 4.6 с 5 мкм частицами – 1 мл/мин). Давление в этом случае (при прокачивании через колонку 150х4.6 с 5 мкм адсорбентом воды при комнатной температуре со скоростью 1 мл/мин) должно составлять порядка 40-80 атм. Если колонка при этом не подтекает в месте соединения, и капилляр не «выбивает» из фитинга, то все работает правильно.
Далее при помощи капилляра и двух цельных фитингов выход колонки соединяют со входом детектора. Еще один капилляр соединяют с выходом детектора, а другим концом помещают его в сливную емкость.
Иногда на конец капилляра, помещаемого в сливную емкость, монтируют (например, через муфту) т.н. противодавление (см. рис. 70). Это нехитрое устройство поднимает давление на участке жидкостной системы от колонки до слива до 1-2 атм, что предотвращает образование микропузырьков воздуха непосредственно в кювете детектора.
Рисунок 70. Противодавление

